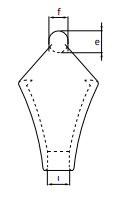
| Soket Numarı | Halat Çapı / mm | Taşıma Kapisitesi / t | Kopma Yükü / t | Ölçüler /a-mm | Ölçüler / b-mm | Ölçüler / c-mm | Ölçüler / d-mm | Ölçüler / e-mm | Ölçüler / f-mm | Ölçüler / g-mm | Ölçüler / h-mm | Ölçüler / ı-mm | Birim Ağırlık /Ad-kg |
|---|---|---|---|---|---|---|---|---|---|---|---|---|---|
| 1 | 10-11 | 1,5 | 10 | 81 | 48 | 22 | 195 | 12 | 11,5 | 20 | 24 | 12 | 12 |
| 2 | 12-13 | 2 | 14 | 95 | 56 | 25 | 195 | 15,5 | 13,5 | 22 | 25 | 14 | 14 |
| 3 | 14-15 | 2,5 | 17,5 | 109 | 64 | 28 | 220 | 17,5 | 15,5 | 24 | 29 | 16 | 16 |
| 4 | 16-17 | 3 | 22,5 | 123 | 70 | 31 | 220 | 19,5 | 17,5 | 26 | 31 | 18 | 18 |
| 5 | 18-19 | 4,5 | 27,5 | 135 | 84 | 33 | 245 | 21 | 19 | 30 | 42 | 20 | 20 |
| 6 | 20-21 | 5 | 35 | 152 | 84 | 36 | 310 | 23 | 21 | 33 | 38 | 23 | 23 |
| 7 | 22-24 | 7 | 42,5 | 166 | 100 | 40 | 310 | 26 | 23 | 37 | 48 | 26 | 26 |
| 8 | 25-27 | 8 | 52,5 | 186 | 100 | 43 | 350 | 28 | 25 | 39 | 44 | 29 | 29 |
| 9 | 28-30 | 11 | 70 | 202 | 120 | 45 | 350 | 31 | 27 | 40 | 58 | 32 | 32 |
| 10 | 31-33 | 13 | 85 | 222 | 120 | 52 | 445 | 32 | 28,5 | 45 | 56 | 37 | 37 |
| 11 | 34-36 | 15 | 95 | 239 | 142 | 55 | 445 | 36 | 31,5 | 50 | 70 | 40 | 40 |
| 12 | 37-39 | 17 | 110 | 264 | 142 | 60 | 495 | 39 | 34,5 | 51 | 64 | 41 | 41 |
| 13 | 40-42 | 21 | 125 | 285 | 166 | 63 | 555 | 43 | 36,5 | 59 | 80 | 44 | 44 |
| 14 | 43-45 | 26 | 155 | 312 | 166 | 68 | 595 | 47 | 40 | 62 | 72 | 48 | 48 |
| 15 | 46-48 | 30 | 180 | 337 | 170 | 75 | 595 | 51 | 44 | 66 | 68 | 53 | 53 |
| 17 | 52-56 | 42,5 | 240 | 400 | 220 | 84 | 880 | 60 | 54 | 75 | 90 | 59 | 59 |