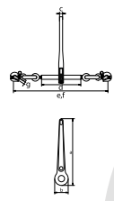
| Zincir Çapı | Ölçüler / a | Ölçüler / b | Ölçüler / c | Ölçüler / d | Ölçüler / e | Ölçüler / f | Ölçüler / g | Gerdirme Mesafesi | Gerdirme Kapasitesi / t | Test Yükü / t | Min Kopma Yükü / t | Ağırlık / kg |
|---|---|---|---|---|---|---|---|---|---|---|---|---|
| 8 | 387 | 65 | 15 | 255 | 735 | 575 | 11 | 160 | 4 | 5 | 8 | 4,9 |
| 10 | 387 | 65 | 15 | 255 | 760 | 595 | 13 | 165 | 6,3 | 7,9 | 12,6 | 5,4 |
| 13 | 387 | 65 | 15 | 260 | 840 | 690 | 16 | 150 | 10 | 12,5 | 21,2 | 7,7 |
| 16 | 387 | 65 | 15 | 260 | 840 | 690 | 19 | 150 | 16 | 20 | 32,2 | 10,2 |