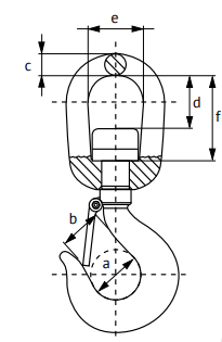
| Çalışma Yükü / t | Nominal Ölçü / inch | Ölçüler / a-mm | Ölçüler / b-mm | Ölçüler / c-mm | Ölçüler / mm-d | Ölçüler / e-mm | Ölçüler / mm-f |
|---|---|---|---|---|---|---|---|
| 2,50 | 5/8 | 38 | 32 | 17 | 44 | 39 | 63 |
| 3,20 | 3/4 | 41 | 33 | 21 | 49 | 50 | 74 |
| 5,40 | 7/8 | 50 | 37 | 23 | 53 | 64 | 81 |
| 8 | 1 | 76 | 60 | 27 | 60 | 70 | 92 |
| 11,50 | 1 1/4 | 82 | 65 | 35 | 75 | 79 | 105 |
| 16 | 1 3/8 | 105 | 90 | 39 | 78 | 97 | 120 |
| 22 | 1 5/8 | 130 | 110 | 50 | 105 | 123 | 160 |