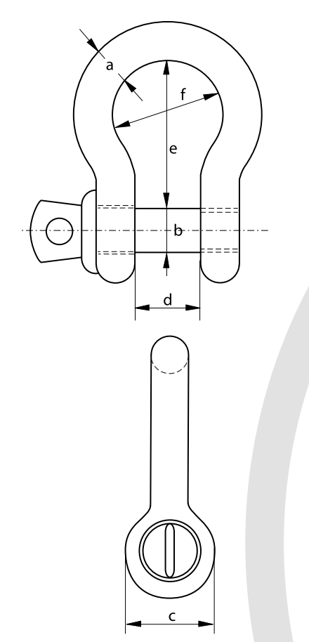
| Gövde Çapı / a-mm | Pim Çapı / b-mm | Göz Çapı / c-mm | Ağız Açıklığı / e-mm | İç Uzunluk / f-mm | İç Çap / g-mm | Birim Ağırlık / ad-kg |
|---|---|---|---|---|---|---|
| 5 | 10 | 10 | 10 | 20 | 15 | 1,4 |
| 6 | 12 | 12 | 12 | 24 | 18 | 2,4 |
| 8 | 16 | 16 | 16 | 32 | 24 | 5,40 |
| 10 | 20 | 20 | 20 | 40 | 30 | 10,6 |
| 11 | 22 | 22 | 22 | 44 | 33 | 16,4 |
| 12 | 24 | 24 | 24 | 48 | 36 | 19,40 |
| 14 | 28 | 28 | 28 | 56 | 42 | 44 |
| 16 | 32 | 32 | 32 | 64 | 48 | 44,20 |
| 19 | 38 | 38 | 38 | 76 | 57 | 82,80 |
| 22 | 44 | 44 | 44 | 88 | 66 | 116 |
| 25 | 50 | 50 | 50 | 100 | 75 | 168 |
| 28 | 56 | 56 | 56 | 112 | 84 | 232 |
| 32 | 64 | 64 | 64 | 128 | 96 | 382 |
| 38 | 76 | 76 | 76 | 152 | 114 | 623 |