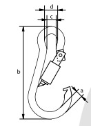
| Çap / a-mm | Uzunluk / b-mm | Alt İç Genişlik / c-mm | Üst İç Genişlik / d-mm | Minumum Kopma Yükü / kg | Ağırlık /100Adet-kg |
|---|---|---|---|---|---|
| 4 | 40 | 4 | 7 | boş | 1,7 |
| 5 | 50 | 5 | 7 | 100 | 1,9 |
| 6 | 60 | 6 | 8 | 120 | 2,7 |
| 7 | 70 | 7 | 10 | 180 | 4,5 |
| 8 | 80 | 10 | 12 | 300 | 6,5 |
| 9 | 90 | 12 | 12 | 330 | 10,3 |
| 10 | 100 | 13 | 15 | 460 | 13,4 |
| 11 | 120 | 13 | 16 | 600 | 19 |
| 12 | 140 | 15 | 19 | 680 | 26,5 |
| 13 | 160 | 17 | 28 | 800 | 37 |
| 14 | 180 | 17 | 28 | 860 | 52 |